加入联盟并担任理事后,将与生态伙伴协同推进人-车-家互联标准制定,统一车规级鸿蒙设备与家用终端的技术接口与数据协议,深化“车控家”“家控车”等应用落地,并建设智慧生活体验空间,打通数据边界,促进跨场景体验升级与产业规模化发展。解决行业接口不...

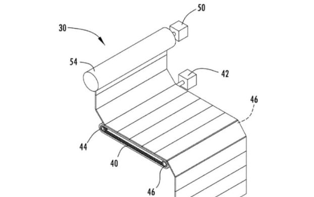
这项乘客显示系统以柔性电动屏为核心,可卷收并在车内前后多位置悬挂,既能充当后排遮阳帘,也支持后备箱观影等用途。尽管已申请并公布专利,但企业强调该想法不代表量产计划,后续将以客户体验为优先推进相关创新。运输组件设于车顶篷附近,电动托架驱动屏幕...

新品GMSL2相机模组与转接板面向长距离图像传输,最远15米仍保持低延迟与清晰成像,分辨率覆盖200万至1300万像素,并集成HDR与LFM以应对极端光照;IP67/IP69K设计保障户外与移动设备在严苛环境下的可靠性与稳定输出。同时降低布...

企业海外业务实现关键突破,正式登陆埃及、哈萨克斯坦与阿塞拜疆,完成横跨中亚、高加索及非洲的核心布局。埃及成为辐射非洲的战略支点,豪华市场由L9、L7、L6覆盖;配套官方质保、专业售后与持续OTA。通过授权经销、总代理与子公司并行,借力本地伙...

公司拟在三个月内处置不超3%股份,用集中竞价与大宗交易回笼资金,所得用于偿还历史债务,大宗受让方六个月内不得减持。处置期自2025年12月9日账户解冻起算,其中竞价不超过1%、大宗不超过2%。结合此前以资产处置推进重组与债务对冲,意在缓解资...
